当前位置:  首页 > 学历招生 > 成教招生 > 成考动态 > 正文

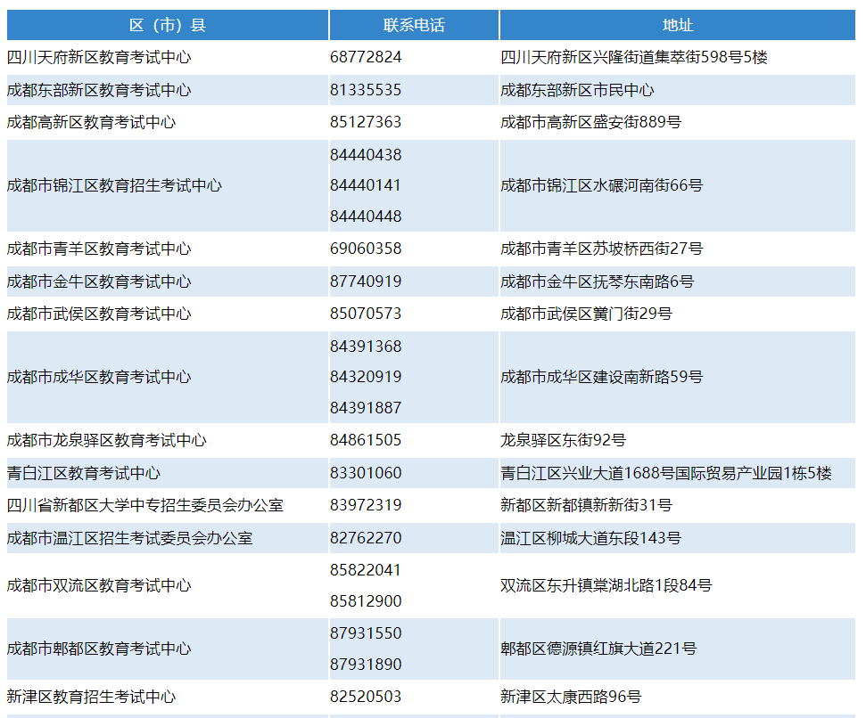
成都市各区(市)县招考机构地址及联系电话

发布时间 :2025-08-26

来源于: https://www.cdzk.cn/district.html   成都市教育考试院